.22 Long Rifle
.22 Long Rifle ou simplesmente .22 LR (5,6×15mmR) é a designação de uma família cartuchos de fogo circular no diâmetro .22, lançado em 1884 e padronizado em 1887, ele descende do .22 Long (1871), que por sua vez descende do .22 Short (1857)[4][5]
| .22 Long Rifle | ||
|---|---|---|
![]() Cartuchos .22 Long Rifle – subsonic hollow point (esquerda), standard velocity (centro), hyper-velocity "Stinger" hollow point (direita). | ||
| Tipo | Cartucho de fogo circular | |
| Local de origem | ||
| Histórico de produção | ||
| Criador | Union Metallic Cartridge Company | |
| Data de criação | 1884 | |
| Especificações | ||
| Cartucho semelhante | .22 Long[1] | |
| Cartucho tipo | com aro, "cilíndrico"[1] | |
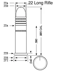
| Diâmetro do Projétil | ,223 in (5,66 mm) | |
| Diâmetro do pescoço | ,226 in (5,74 mm) | |
| Diâmetro da base | ,226 in (5,74 mm) | |
| Diâmetro do aro | ,278 in (7,06 mm) | |
| Espessura do aro | ,043 in (1,09 mm) | |
| Comprimento do estojo | ,613 in (15,6 mm) | |
| Comprimento total | 1,00 in (25,4 mm) | |
| Raiamento | 1:16"[1] | |
| Espoleta | de fogo circular[1] | |
| Desempenho balístico | ||
| Projétil Peso / Tipo | Velocidade | Energia |
| 40 gr. (2,6 g) sólida[2] | 1.200 ft/s (370 m/s) | 131 ft-lbf (178 J) |
| 38 gr. (2,5 g) Jaquetada de cobre HP[2] | 1.260 ft/s (380 m/s) | 134 ft-lbf (182 J) |
| 32 gr. (2,1 g) Jaquetada de cobre HP[2] | 1.430 ft/s (440 m/s) | 141 ft-lbf (191 J) |
| 31 gr. (2,0 g) Jaquetada de cobre HP[3] | 1.750 ft/s (530 m/s) | 204 ft-lbf (277 J) |
| 30 gr. (1,9 g) Jaquetada de cobre HP[3] | 1.640 ft/s (500 m/s) | 191 ft-lbf (259 J) |
| Comprimento do tubo de teste: 18,5 polegadas (470 milímetros) Referências: [2][3] | ||
Em termos de unidades vendidas, o .22 LR continua sendo de longe a munição mais popular até hoje no mundo.[5] Ele é usado em uma ampla gama de carabinas, pistolas, revólveres, espingardas,[5] e até submetralhadoras.
História
Foi introduzido pela Union Metallic Cartridge Company, em 1884,[6] nos Estados Unidos. Baseado no .22 BB Cap, de 1845, e no .22 Short, de 1857. É resultado da combinação do estojo do .22 Long, com um projétil de 45 grains, proporcionando um alcance mais longo, maior velocidade de saída e desempenho melhorado em relação aos seus semelhantes, tornando obsoletos os cartuchos .22 Long e .22 Extra Long. Utiliza-se de um projétil que possui o mesmo diâmetro de seu estojo, facilitando o uso em diversas plataformas.[4][5]
Popularidade
O cartucho .22 LR é popular entre atiradores iniciantes e especialistas. O recuo mínimo e o ruído relativamente baixo fazem dele um cartucho ideal para tiro recreativo, caça de pequenos animais e controle de pragas.[7] As carabinas em .22 Long Rifle são frequentemente utilizadas nos Escoteiros nos Estados Unidos.[8]
No Brasil, foi, de 2003 até 2019,[9] o único calibre de alma raiada em armas longas permitido para a compra do público geral, sendo muito utilizado em fazendas e no tiro esportivo.
O baixo recuo do .22 LR o torna ideal para cursos introdutórios de armas de fogo. Atiradores iniciantes podem se surpreender ou assustar-se com o barulho e o recuo de cartuchos mais potentes. Iniciantes atirando armas além do seu nível de conforto frequentemente desenvolvem o hábito de recuar na tentativa de combater o recuo antecipado. O hábito resultante impede a postura correta e o acompanhamento na fase mais crítica do tiro e é difícil de corrigir. Com o alto recuo eliminado, outros erros na técnica de pontaria são mais fáceis de identificar e corrigir.
Estão disponíveis para este calibre receptores superiores da plataforma AR e conjuntos de ferrolhos para pistolas M1911, por exemplo. Muitos fabricantes de armas têm um kit de conversão de partes da arma para disparar munições de 22 LR. Essas conversões permitem que os atiradores pratiquem de forma barata, mantendo as características de manuseio de suas armas de fogo escolhidas . Além disso, os kits de conversão de cartuchos .22 LR permitem a prática em áreas internas que proíbem armas de fogo de maior energia.
Uma grande variedade de munições de .22 LR está disponível comercialmente, e a munição disponível varia muito em preço e desempenho. Os pesos dos projéteis entre as munições disponíveis no mercado variam de 20 a 60 grains (1,3 a 3,9 g) e as velocidades variam de 575 a 1.750 pés / s (175 a 533 m / s). O 22 LR é a munição de cartucho mais barata disponível na maioria dos mercados.[10] O baixo custo da munição tem um efeito substancial sobre a popularidade do .22 LR. Por esse motivo, os cartuchos são comumente usados para a prática de tiro ao alvo.
A produção anual é estimada em 2 a 2,5 bilhões de cartuchos O NSSF estima que uma grande porcentagem da produção americana de 10 bilhões de cartuchos é composta de .22LR. Apesar dos altos índices de produção, ocasionalmente houve escassez de cartuchos nos contíguos Estados Unidos, principalmente durante a escassez de munições nos EUA no final dos anos 2000 e início de 2010.[11]
Performance

O .22 LR é eficaz a 150 jardas (140 m), embora os alcances práticos tendam a ser menores (cerca de 90 jardas ou 82 metros).[12] Depois de 150 jardas, a balística desse cartucho é tal que será difícil compensar a grande "queda". O alcance efetivo relativamente curto, poucas falhas e o leve recuo tornaram-no um dos favoritos para uso como cartucho de tiro ao alvo. A precisão do cartucho é boa, mas não excepcional; vários cartuchos são capazes de precisão igual ou superior. Um fator contribuinte em rifles é a transição de até mesmo um projétil de cartucho de alta velocidade de supersônico para subsônico dentro de 100 jardas (91 m). Conforme a bala desacelera, a onda de choque causada pela viagem supersônica atinge a bala e pode interromper sua trajetória de vôo, causando imprecisões menores, mas mensuráveis.
Quando "zerado" para 100 jardas (91 m), a trajetória do arco do padrão de alta velocidade do .22 LR com uma bala de 40 gr tem um aumento de 2,7 polegadas (69 mm) a 50 jardas (46 m) e um aumento de 10,8 queda de 27 cm a 150 jardas (140 m).[13] Um rifle em .22 LR precisa ser "zerado" para 75 jardas (69 m) para evitar transfixar animais pequenos como esquilos em distâncias intermediárias.[13]
Como um cartucho de caça, esses cartuchos de fogo circular são usados principalmente para matar animais pequenos até o tamanho de coiotes.[14] Embora o posicionamento adequado do tiro possa matar animais maiores, como veados ou porcos,[15] não é recomendado porque seu baixo poder pode não garantir uma morte "sem sofrimento".[16] O maior animal registrado morto com um rifle LR .22 foi um urso pardo em 1953.[17] Em 2013, um elefante foi morto por vários tiros de um rifle .22 LR.[18]
Como uma bala .22 LR é menos poderosa do que cartuchos maiores, seu perigo para os humanos costuma ser subestimado. Na verdade, uma bala .22 LR é facilmente capaz de matar ou ferir humanos. Mesmo depois de voar 400 jardas (370 m), uma bala .22 ainda está viajando cerca de 500 pés/s (150 m/s). Os ricochetes são mais comuns em projéteis .22 LR[19] do que em cartuchos mais poderosos, já que a combinação de chumbo sem revestimento e velocidades moderadas permite que o projétil se desvie - não penetre ou desintegre - ao atingir objetos rígidos em um ângulo de visão. Uma bala .22 LR pode ricochetear na superfície da água com um ângulo de mira baixo. Lesões graves podem resultar em uma pessoa ou objeto na linha de fogo na margem oposta, a várias centenas de metros de distância.[20] Uma bala .22 LR é capaz de percorrer 2.000 jardas (1.800 m), o que é mais de 1 milha (1,6 km).[21]
As balas para cartuchos de fogo circular são geralmente de chumbo liso com um revestimento de cera (para cargas de velocidade padrão) ou revestidas com cobre ou metal dourado (para cargas de alta velocidade ou hipervelocidade). A fina camada de cobre na bala chapeada funciona como um lubrificante, reduzindo o atrito entre a bala e o cano, reduzindo assim o seu desgaste. O chapeamento também evita a oxidação da bala de chumbo. O chumbo tende a oxidar se armazenado por longos períodos. Em uma bala de chumbo simples, o óxido na superfície da bala pode aumentar seu diâmetro o suficiente para impedir a inserção do cartucho na câmara ou - nos cartuchos de alta velocidade - causar pressões perigosamente altas no cano, potencialmente rompendo o estojo do cartucho e ferindo o atirador; por esse motivo, os cartuchos padrão e subsônicos geralmente usam um lubrificante de cera nas balas de chumbo.
Variantes
A variedade de cargas do cartucho .22 LR é frequentemente dividida em quatro categorias distintas, com base na velocidade nominal:
- Subsônico, que também inclui cargas de "competição", em velocidades nominais abaixo de 1.100 pés (335 metros) por segundo.
- Velocidade padrão: 1.120-1.135 pés (340-345 metros) por segundo.
- Alta velocidade: 1.200-1.310 pés (365-400 metros) por segundo.
- Hiper-velocidade ou Ultra-velocidade: mais de 1.400 pés (425 metros) por segundo.
Subsônico
As munições subsônicas têm uma velocidade no cano menor que a velocidade do som (cerca de 1.080 pés / s (330 m / s)). Essa munições às vezes são equipadas com projéteis extra-pesados de 46 a 61 grãos (3,0 a 4,0 g) para melhorar a balística terminal do projétil mais lento. Por outro lado, essas munições podem conter pouco mais do que uma espoleta e um projétil extra leve. Munições subsônicas são preferidas por alguns atiradores devido à precisão ligeiramente superior e à redução de ruído.
Dimensões
Em polegadas
Em milímetros
Referências
- SAAMI/ANZI. "American National Standard Z299.1-1992." SAAMI (Newtown, Connecticut USA) November 24, 1992.
- «Federal Cartridge Co.». Consultado em 9 de janeiro de 2021. Cópia arquivada em 27 de setembro de 2007
- Simpson, Rich. "Remove pesky rodents with sure-shot rimfire rifles". Times-News (Twin Falls, Idaho, USA) March 28, 2008.
- Rick Windham (9 de julho de 2019). «A little bit of history on the .22LR cartridge». The North Platte Telegraph. Consultado em 9 de janeiro de 2021
- Art Lander Jr. (2 de agosto de 2019). «Art Lander's Outdoors: The .22 long rifle, the leader in sales worldwide and first firearm experience for many». Northern Kentucky Tribune. Consultado em 9 de janeiro de 2021
- GOFF, Byron (2019). .22 Long Rifle Origin. Single Shot Rifle Journal, Volume 72, Número 4: [s.n.] p. 7
- «Rimfire Hunting Cartridges». 16 de junho de 2009
- «Boy Scouts of America: National Shooting Sports Manual» (PDF). Consultado em 11 de junho de 2020
- «Decreto 10.030». Plantalto. 30 de Setembro de 2019
- «Top 5 .22 Long Rifle Loads» (em inglês)
- Retailer, Shooting Sports (18 de janeiro de 2017). «Top 3 Calibers To Stock In 2017» (em inglês)
- Chuck Hawks. «The .22 Long Rifle». chuckhawks.com. Consultado em 9 de janeiro de 2021
- Chuck Hawks. «Hornady's .17 Mach 2». chuckhawks.com. Consultado em 9 de janeiro de 2021
- Massaro, Philip (17 de abril de 2016). «Top 5 .22 Long Rifle Loads». American Hunter. Consultado em 9 de janeiro de 2021. Cópia arquivada em 25 de janeiro de 2018
- Johnson, M.D. (19 de outubro de 2012). «.22LR: The Best Survival Ammunition?». GunDigest.com. Consultado em 9 de janeiro de 2021. Cópia arquivada em 25 de janeiro de 2018
- «Best .22LR Rifles For Hunting Small Game & Survival: Rimfire Rifle Reviews». WildernessToday.com. Consultado em 9 de janeiro de 2021. Cópia arquivada em 25 de janeiro de 2018
- Weingarten, Dean (7 de junho de 2017). «Bella Twin, the .22 Used to Take the 1953 World Record Grizzly, and More». Ammoland.com. Consultado em 9 de janeiro de 2021. Cópia arquivada em 25 de janeiro de 2018
- Fredrickson, Terry (26 de março de 2013). «Elephant killing probe heats up». www.bangkokpost.com. Consultado em 9 de janeiro de 2021
- «17 HMR vs 22 LR: The Ultimate Battle and Which is Better!». Patriotic Hunter (em inglês). Consultado em 9 de janeiro de 2021. Cópia arquivada em 15 de fevereiro de 2019
- Fadala, Sam (1989). The Book of the Twenty-Two 1 ed. South Hackensack, New Jersey: Stoeger Publishing Company. p. 249. ISBN 978-0-88317-149-3.
After the bullet glanced off of the water, its remaining velocity was 1195 fps. Only 43 fps were lost… The missile remains lethal after a ricochet.
- «Range of a Handgun Bullet». The Physics Handbook. Consultado em 9 de janeiro de 2021. Cópia arquivada em 3 de abril de 2019
Ligações externas
- 22LR Ballistics Chart for 27 different cartridges
- Ballistics By The Inch .22 Results (including .22 Long Rifle).
- O Versátil Cartucho .22 Long Rifle
- The .22 Long Rifle — 100-Plus Years and Still Going Strong
- Art Lander’s Outdoors: The .22 long rifle, the leader in sales worldwide and first firearm experience for many
- .22 short vs. .22 long rifle and pellet gun. - Paul Harrell no YouTube, vídeo (em inglês)
- Firearms Facts Episode 1: The .22 Long Rifle - Iraqveteran8888 no YouTube, vídeo (em inglês)
