Regency TR-1
Regency TR-1 foi o primeiro rádio transistorizado de bolso da história.[1]
| Regency TR-1 | |
|---|---|
![]() | |
| Características | |
| Classificação | modelo (rádio transistorizado) |
| Categoria | Regency TR-1 |
| Trabalha com | super-heteródino, Transistor NPN, bateria |
| Localização | |
| [ Editar Wikidata ] [ Mídias no Commons ] [ Editar infocaixa ] | |
Os laboratórios Bell estavam impedidos de expandir seu monopólio e entrar em outros mercados. Assim, passaram a licenciar suas patentes para outras empresas, estabelecendo uma taxa de 25 mil dólares para qualquer firma que quisesse produzir transístores.
Em 1952, a Texas Instruments conseguiu uma licença para produzir transístores com o objetivo de produzir um pequeno rádio de bolso. Quando tentou convencer a RCA e outras grandes empresas fabricantes de rádios de mesa a associar-se ao empreendimento, elas disseram que os consumidores não estavam desejando um rádio de bolso.
A Texas Instruments se aliou a uma pequena empresa de Indianapolis, que fabricava circuitos de antenas de TV, a Industrial Development Engineering Associates, (I.D.E.A), para juntas produzir o rádio que seria chamado de Regency TR-1.[1] A divisão Regency da I.D.E. A anunciou o TR-1 em 18 de Outubro de 1954 e o colocou à venda em Novembro daquele ano.[1] O rádio Regency, do tamanho de um pacote de fichas de arquivo, usava quatro transístores e custava 49,95 dólares. A princípio, era vendido em parte como um item de segurança, na guerra fria.
- «No caso de um ataque inimigo, seu Regency TR-1 se tornará um de seus bens mais valiosos» (lia-se no primeiro manual do proprietário).
Mas logo ele se tornou um objeto de desejo dos consumidores e uma obsessão para os adolescentes. Em um ano foram vendidos 100 mil e o aparelho se transformou num dos produtos novos mais populares da história.[2]
O rádio transístor tornou-se o primeiro exemplo de tecnologia produzindo aparelhos de uso pessoal. O rádio não era mais um aparelho de sala de estar, de uso partilhado; era um aparelho que permitia ao indivíduo ouvir suas músicas preferidas, onde e quando quisesse. Com efeito, houve uma relação simbiótica entre o advento do rádio transístor e o surgimento do rock and roll. A primeira gravação comercial de Elvis Presley, “That’s All Right”, coincidiu com o surgimento do Regency. A música nova e rebelde fez com que toda a garotada desejasse um rádio. E o fato de os rádios poderem ser levados para a praia ou para o porão, longe dos ouvidos reprovadores e dos dedos dos pais, que controlavam a sintonização, permitiu que a música florescesse.
- «O único desgosto que tenho em relação ao transístor é seu uso para o rock ‘n’ roll» (lamentou-se muitas vezes seu co-inventor, Walter Brattain).[3]
Imagens
![]() |
![]() |
![]() |
![]() |
| Modelo de 1962. | Diagrama dos principais componentes do Regency TR-1. |
Caixa aberta, de um modelo (c. 1954), exibindo a placa de circuito impresso e componentes. |
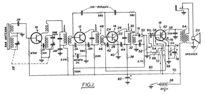
Esquema elétrico do Regency TR-1. |
- «Transistor Radios». PBS (em inglês). Consultado em 4 de setembro de 2022
- [www.regencytr1.com/images/Owners%20Manual20-%TR-1.pdf «regency»] Verifique valor
|URL=(ajuda) (PDF) - «TRivia CORNER». www.regencytr1.com. Consultado em 20 de julho de 2015

.jpg.webp)

.jpg.webp)
