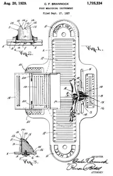
Brannock device
See also: Brannock Device
English

A Brannock Device
Alternative forms
Etymology
Named after its inventor, Charles F. Brannock.
Noun
Brannock device (plural Brannock devices)
Translations
tool used to measure a foot's length
|
Further reading
Brannock device on Wikipedia.Wikipedia
This article is issued from Wiktionary. The text is licensed under Creative Commons - Attribution - Sharealike. Additional terms may apply for the media files.