cotter
English
Pronunciation
- Rhymes: -ɒtə(ɹ)
Etymology 1
Unknown
Noun
cotter (plural cotters)
- (mechanical engineering) A pin or wedge inserted through a slot to hold machine parts together.
- 1949 November and December, “Notes and News: The High Level Bridge, Newcastle”, in Railway Magazine, page 407:
- The chains are secured to each end of the cast-iron arches by cotters.
- (informal) A cotter pin.
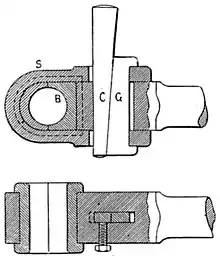
.jpg.webp)
Cotter (C on diagram)
Usage notes
The terms cotter and cotter pin are sometimes used interchangeably, although they have different functions. For a more detailed explanation see Wikipedia articles on cotter pin, cotter (pin), and split pin.
Related terms
Translations
pin to hold parts together
Verb
cotter (third-person singular simple present cotters, present participle cottering, simple past and past participle cottered)
- (transitive) To fasten with a cotter.
Etymology 2
From Middle English cotter, cotere, kottere, koter, cotier, equivalent to cot (“cottage”) + -er, from Old English cot. Compare Old French coter, cotier.
Alternative forms
Noun
cotter (plural cotters)
- (historical) A peasant who performed labour in exchange for the right to live in a cottage.
- 1786, Robert Burns, The Cotter's Saturday Night:
- The toil-worn Cotter frae his labour goes,— / This night his weekly moil is at an end,— / Collects his spades, his mattocks, and his hoes, […]
Synonyms
- coscet
- cottager
This article is issued from Wiktionary. The text is licensed under Creative Commons - Attribution - Sharealike. Additional terms may apply for the media files.